2016年1月28日消息 据网友爆料,中国多个省市中国电信、部分联通网络用户无法打开微软的搜索引擎 cn.bing.com , 使用代理则可正常打开。

目前尚不清楚故障原因,微软小娜、苹果Siri服务等可能受到影响。根据Traceroute测试,微软的IP地址是在中国境内被屏蔽,可以排除微软服务器的故障。有图有真相,上图如下:


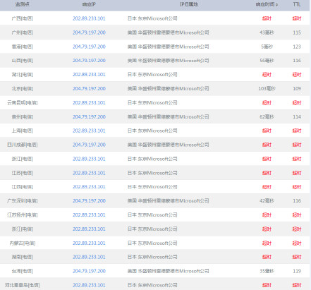
经网友ping测试,cn.bing.com定向指向日本、美国IP,中国电信网络要么超时,要么不能打开网页。
这并不是微软bing搜索引擎较早次出故障
据悉,这并不是微软bing搜索引擎较早次出故障。微软中文版“bing”的上市实在后不久,就有网友爆料该站点出现无法解析状态,系统提示“Internet Explorer 不能链接到您请求的网页。此页可能暂时不可用”。
2009年6月2日,微软公司在中国地区开通Bing搜索,随后2009年6月3日中国地区开始出现访问故障,6月9日下午,bing.com.cn开始恢复正常访问,6月10日下午,就有用户开始陆续反应该站点出现访问故障。
微软bing搜索引擎
6月1日,微软全球同步推出的新搜索品牌“bing”中文名称“必应”,用户可通过bing.com.cn进行访问。
◆微软bing搜索引擎的五大功能
1. 使用完全功能版的 Bing。将默认地区设置为:English – US(美国 – 英语),你就能从任何地方享受完整的 Bing。 2. Bing会自动为这些公司创建Web Slice,,然后可以把它们加入到IE 8的收藏栏,在 IE 收藏栏跟踪公司股票信息。 3. 保存搜索结果和通过Email分享。 4. 订阅搜索结果。 5. 查找链向 MP3 文件或者其他文档的页面。
◆微软在Bing搜索引擎中推出“网络测速”应用
今年1月,微软在Bing搜索引擎上进行了网速测定的新应用。用户可以直接在搜索框中键入“speed test”便可以在搜索结果中发现一个网速测试的仪表盘。通过点击开始和Bing按键,用户件可以看到自己的网速情况,宽带下载速度以及上传文件的速度,此外,上面讲显示出用户的IP地址。目前,该功能正在测试阶段,只针对部分用户开放了测试,而较终版本或将在近期完成。据测试过的网友表示,微软此次推出的测速应用操作简单,且比speedtest.net使用起来更加快捷和流畅。